6.6.1流量概況
系統在與我們合作的網站頁面上部署了代碼,統計到精準的流量,統計流量為流量探針探測到的真實流量,預估數據按照真實流量的60%的數據計算。移動頁面預估流量和機器人預估流量,通過真實捕獲數據,結合發布數量,進行預估。
6.6.2流量統計
按月順序利用餅圖表直觀統計,顯示流量狀況和預估總流量數據,以及每天流量和預估總流量數值變化情況

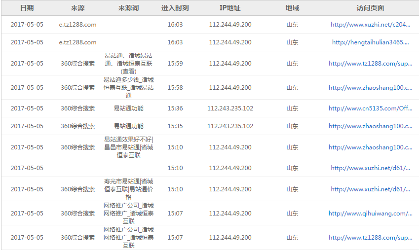
6.6.3流量詳情
流量詳情可以直觀的看到訪客來源,地域IP地址,來源詞和訪問的頁面,數據精準,每天更新。
6.6.4流量分析
流量分析:以圖片的形式直觀的顯示訪客來源,目前統計的又百度,搜狗,360綜合搜索等等,訪客地域分析一目了然。





